پورشه نخستین موتور شش زمانه را معارفه کرد، عمر مجدد برای موتورهای درونسوز_دانشجو
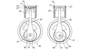
به گزارش دانشجو در شرایطی که خودروسازان به جستوجو تشکیل موتورهای برقی تازه می باشند، پورشه از موتور شش زمانه...
به گزارش دانشجو در شرایطی که خودروسازان به جستوجو تشکیل موتورهای برقی تازه می باشند، پورشه از موتور شش زمانه...
به گزارش دانشجو خودروسازان بعد از اراعه برنامههای متهورانه برای گسترش خودروهای برقی، اکنون در حال عقبنشینی می باشند. کرهایها...