پورشه نخستین موتور شش زمانه را معارفه کرد، عمر مجدد برای موتورهای درونسوز_دانشجو
[ad_1]
به گزارش دانشجو
در شرایطی که خودروسازان به جستوجو تشکیل موتورهای برقی تازه می باشند، پورشه از موتور شش زمانه خود رونمایی کرد. رونمایی از این پیشرانه میتواند علتتداوم عمر موتورهای درونسوز شود، چرا که پیشرانه ششزمانه در عرصه مصرف انرژی بهینهتر از موتورهای چهارزمانه ظاهر میشود.
همه خودروهای درونسوز اکنون، از موتورهای چهارزمانه منفعت گیری میکنند. فرآیند کاری این موتورها شامل ورود مخلوط هوا و سوخت، افزایش تراکم، انفجار و خروج گازهای حاصل از احتراق است. طراحان پورشه بر این باور می باشند که میتوانند دو مرحله فشردهسازی و احتراق فرد دیگر را به این فرآیند اضافه کنند و یک موتور شش زمانه بسازند.
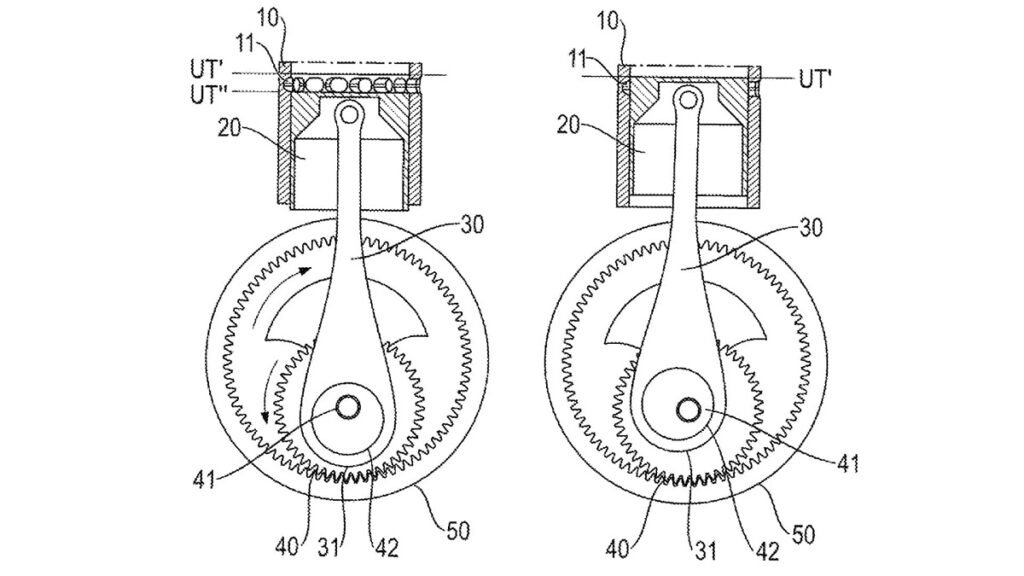
فرآیندکاری موتور شش زمانه پورشه به گفتن ساده
پورشه برای جلوگیری از سو منفعت گیری دیگران، اختراع موتور شش زمانه خود را در اداره ثبت اختراعات ایالاتمتحده به نام خود درج کرده است. این پیشرانه شامل شش مرحله جداگانه است که شامل دو مرحله با سه فرآیند خواهد شد. دو مرحله تازه اضافه شده، قبل از مرحله دوم و چهارم موتورهای چهارزمانه می باشند. قسمت اول فرآیند کاری موتور شش زمانه پورشه شامل ورود، فشرده سازی و انفجار است. در قسمت دوم نیز فشردهسازی، انفجار و خروج گازهای ناشی از احتراق را ناظر خواهیم می بود.
پورشه برای ساخت موتور شش زمانه، میللنگ جدیدی را طراحی کرده است که روی حلقه دایرهای با دو دایره هممرکز میچرخد. این حلقه نقطه مرکزی چرخش را به طور متناوب تحول میدهد و پیستونها کورس حرکت کمتری نسبت به موتورهای چهارزمانه دارند. در موتورهای ششزمانه، پیستون حرکت مختصرتری دارد و دو نقطه مرگ بالا و پایین دارد؛ در حالیکه پیستون موتورهای چهارزمانه طبق معمول یک نقطه مرگ دارند.

یقیناً موتور شش زمانه پورشه زیاد پیچیدهتر از توضیحات ساده ما است. این پیشرانه قابلیت تشکیل راندمان بهتری دارد. در موتورهای چهارزمانه، تنها یک ضربه از هر چهار حرکت تشکیل میشود که حاصل آن تشکیل قوت است. این فرمول در موتورهای ششزمانه به دو ضربه در قالب حرکات سهگانه تحول میکند. این چنین تشکیل دو ضربه یا دو انفجار، علتمیشود تا مخلوط سوخت و هوا به طور کامل بسوزند. در سوی روبه رو این پیشرانه زیاد پیچیدهتر از موتورهای چهارزمانه است. پیچیدگی زیاد موتور ششزمانه پورشه، امکان پذیر قیمت تشکیل این پیشرانه را تحت تاثییر قرار دهد. با این حال ما اکنون میدانیم که پورشه در حال تلاش تعداد بسیاری است تا موتورهای احتراق داخلی را زنده نگه دارد.
دسته یندی مطالب
[ad_2]